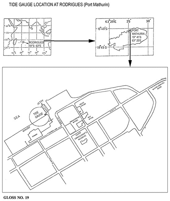
RODRIGUES ISLAND

Station summary

Showing all stations within 1000 km of the observed station Active station No data for 30 days Decommissioned No observations in SONEL (Survey) Not co-located with observed station
Showing all stations within 1000 km of the observed station Available data / Station OK Available data / Problem(s) detected Does not work No longer exists Foreign partner management Not co-located with observed station
Showing all stations within 1000 km of the observed station Co-located with observed station Not co-located with observed station
  • More informations on each symbol.
  • GPS
    Tide Gauge
    DORIS
Latitude : -19.68026700
Longitude : 63.42148300
GLOSS Nr.: 19
Country: MAURITIUS
City: PORT MATHURIN
Station state: Foreign partner

Comparison with satellite altimetry data

Co-located instrumentsRDRTG

Photo albumRDRTG